1.該產品主要用在火電站主蒸汽管道上,作防止介質倒流的裝置。
2.制造驗收技術條件按日本火力發電用閥門標準E101的規定。
3..閥門結構長度按E101的規定。
4..閥體焊接坡口按ANSIB16.25的規定或按用戶提供尺寸。
5.鑄鋼件射線無損探傷按MSS、SP-54的規定。
6.殼體強度及密封試驗標準按E101的規定。
7.閥門上鑄有介質流向標志。
8.關閉件為閥瓣,經搖桿和銷軸活動的連接在閥體上。密封部分采用自壓密封結構。
9.關閉件啟閉運動隨工作介質的流向,介質順流時則開啟,逆流時則關閉。
10.閥座焊接在閥體上。
11.閥體、閥蓋連接形式:
①DN≤6”采用螺紋連接
②DN≥8”采用四開環螺栓連接
12.閥座與閥瓣密封面堆焊STL硬質合金,耐腐蝕,耐沖刷,抗擦傷性能好。
13.中法蘭沒有墊片,靠質介靜壓力或螺栓預緊力,二個合力迫使密封環變形達到密封。
•殼體材料適用規范
|
殼體材料 |
適用溫度≤℃ |
|
ASTM A216 WCB |
427 |
|
ASTM A217 WC1 |
454 |
|
ASTM A217 WC6 |
552 |
|
ASTM A219 WC9 |
593 |
•壓力溫度規范
ASTM A216 WCB
|
工作溫度 ℃ |
壓 力 級 |
|
1500Lb |
2000Lb |
2500Lb |
3500Lb |
|
工 作 壓 力 bar |
|
38 |
260 |
347 |
434 |
607 |
|
427 |
145 |
193 |
241 |
337 |
ASTM A217 WC1
|
工作溫度 ℃ |
壓 力 級 |
|
1500Lb |
2000Lb |
2500Lb |
3500Lb |
|
工 作 壓 力 bar |
|
38 |
244 |
325 |
407 |
570 |
|
454 |
171 |
228 |
285 |
400 |
ASTM A217 WC6
|
工作溫度 ℃ |
壓 力 級 |
|
1500Lb |
2000Lb |
2500Lb |
3500Lb |
|
工 作 壓 力 bar |
|
38 |
264 |
352 |
439 |
615 |
|
552 |
63 |
84.5 |
106 |
148 |
ASTM A217 WC9
|
工作溫度 ℃ |
壓 力 級 |
|
1500Lb |
2000Lb |
2500Lb |
3500Lb |
|
工 作 壓 力 bar |
|
38 |
264 |
352 |
439 |
615 |
|
593 |
40 |
53 |
66 |
93 |
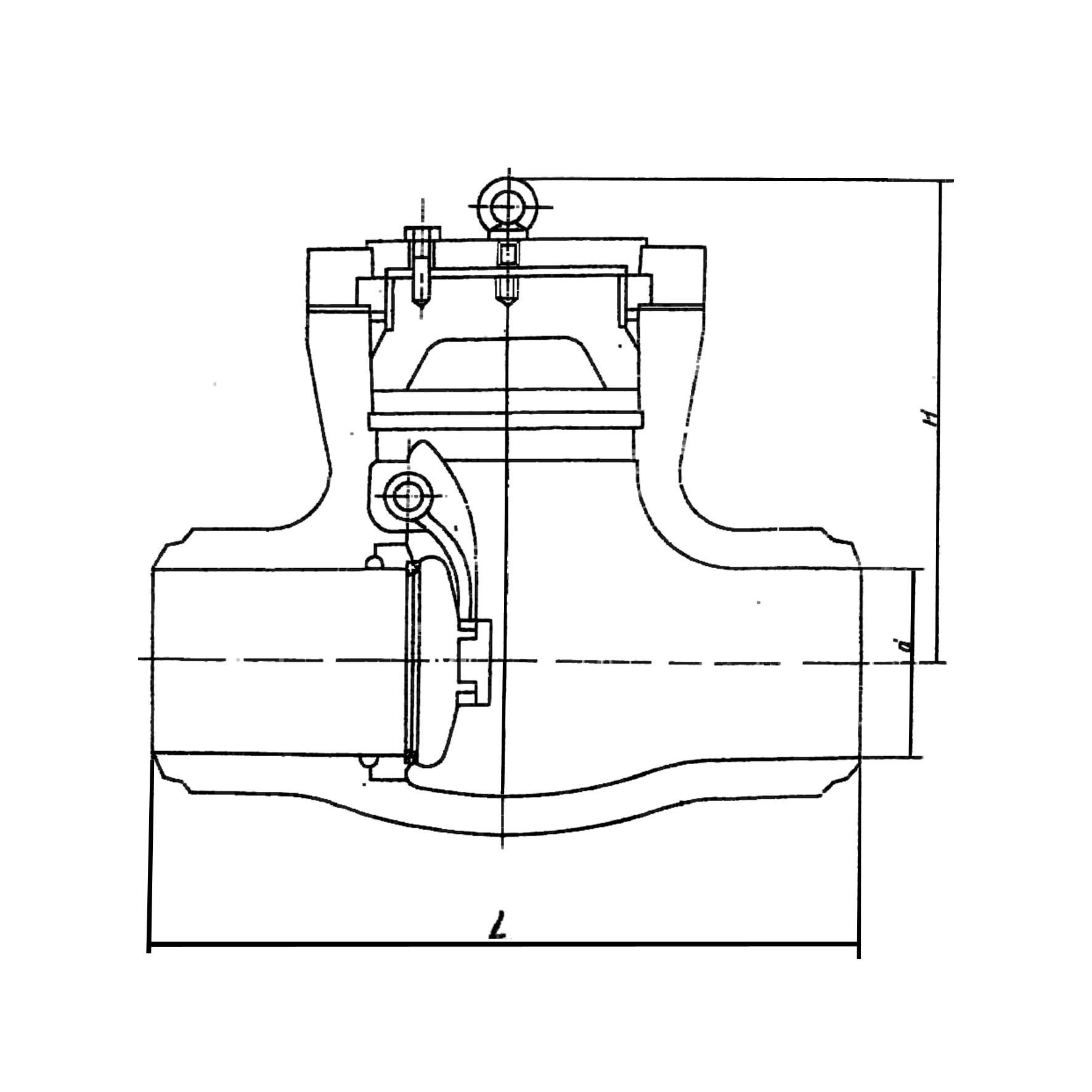
產品尺寸圖
旋啟式止回閥 CLASS 1500 2000 2500 3500


H64Y—1500 外形尺寸和連接尺寸
|
規格 DN |
d |
L |
H |
重量(kg) |
|
in. |
mm |
mm |
|
2½ |
65 |
56 |
254 |
250 |
35 |
|
3 |
80 |
64 |
305 |
300 |
45 |
|
4 |
100 |
84 |
406 |
350 |
80 |
|
5 |
125 |
100 |
483 |
425 |
115 |
|
6 |
150 |
126 |
559 |
400 |
180 |
|
8 |
200 |
158 |
711 |
490 |
270 |
|
10 |
250 |
200 |
864 |
540 |
430 |
|
12 |
300 |
250 |
991 |
650 |
630 |
|
14 |
350 |
280 |
1067 |
710 |
810 |
H64Y—2000 外形尺寸和連接尺寸
|
規格 DN |
d |
L |
H |
重量(kg) |
|
in. |
mm |
mm |
|
2½ |
65 |
50 |
330 |
240 |
40 |
|
3 |
80 |
60 |
368 |
305 |
60 |
|
4 |
100 |
80 |
457 |
315 |
95 |
|
5 |
125 |
96 |
533 |
380 |
110 |
|
6 |
150 |
118 |
610 |
425 |
160 |
|
8 |
200 |
147 |
762 |
480 |
330 |
|
10 |
250 |
180 |
914 |
570 |
540 |
|
12 |
300 |
222 |
1041<, /o:p> |
570 |
800 |
|
14 |
350 |
254 |
1118 |
680 |
930 |
H64Y—2500外形尺寸和連接尺寸
|
規格 DN |
d |
L |
H |
重量(kg) |
|
in. |
mm |
mm |
|
3 |
80 |
70 |
368 |
270 |
70 |
|
4 |
100 |
86 |
457 |
385 |
110 |
|
5 |
125 |
104 |
533 |
410 |
130 |
|
6 |
150 |
130 |
610 |
455 |
180 |
|
8 |
200 |
162 |
762 |
555 |
380 |
|
10 |
250 |
210 |
914 |
615 |
730 |
|
12 |
300 |
234 |
1041 |
715 |
1120 |
|
14 |
350 |
264 |
1118 |
790 |
1495 |
|
18 |
450 |
304 |
1397 |
815 |
2400 |
H64Y—3500Lb
|
規格 DN |
d |
L |
H |
重量(kg) |
|
in. |
mm |
mm |
|
2 |
50 |
44 |
44 |
390 |
40 |
|
3 |
80 |
50 |
50 |
440 |
50 |
|
4 |
100 |
70 |
70 |
540 |
150 |
|
5 |
125 |
80 |
80 |
616 |
160 |
|
6 |
150 |
90 |
90 |
692 |
220 |
主要零件材料
|
零件名稱 |
材 料 號 牌 |
|
閥體 |
WCB |
WC1 |
WC6 |
WC9 |
|
閥座 |
25 |
15CrMoA |
12Cr1MoVA |
|
閥瓣 |
WCB |
WC1 |
WC6 |
WC9 |
|
搖桿 |
WCB |
WC1 |
WC6 |
WC9 |
|
閥蓋 |
25 |
15CrMoA |
12Cr1MoVA |
|
銷軸 |
1Cr17Ni2 |
20Cr1Mo1V1A |
|
密封環 |
A182F321 |
A182F321 |
1.本閥應整齊地存放在干燥的倉庫內,嚴禁堆置或露天存放,閥門通道端必須用蓋板堵塞。
2.如果長期存放時,應做定期檢查,對外露的加工表面必須更換防銹油并清除表面上的污垢和鐵銹。
3.安裝前必須核對本閥的標志,合格證是否符合使用要求,核實后進行清除污垢,泥沙,鐵銹等。
4.本閥安裝方位必須使介質流向和閥體上的箭頭所示方向一致。
5.本閥只允許安裝在水平管道上,閥蓋在上方,并便于檢修。
6.使用過程中經常保持清潔。
7.發生故障時應立即停止使用,查明原因并解決。